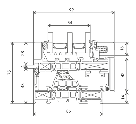
Система ODR AL W-85 разработана для тех, кто ищет качественное и долговечное решение для остекления жилых и коммерческих объектов. Благодаря строгой геометрии и компактной высоте профиля (75 мм), окна этой серии пропускают максимум естественного света, сохраняя при этом исключительную жесткость конструкции. Лаконичные линии профиля позволяют окнам ODR AL-85 органично смотреться как на фасадах современных бизнес-центров, так и в интерьерах частных домов, не перетягивая на себя лишнего внимания.
- Максимальное заполнение: Уникальная конструкция позволяет устанавливать сверхтолстые стеклопакеты до 56 мм.
- Компактный световой проем: Высота профиля всего 75 мм делает конструкцию визуально легкой, расширяя панораму обзора.
- Фурнитура: Система адаптирована под Европаз V.01, что гарантирует идеальную совместимость с механизмами STAC для комфортной работы створок на протяжении десятилетий.
- Стойкость к стихиям: Цельноалюминиевый корпус с антикоррозийным покрытием не боится перепадов температур, влаги и ультрафиолета.


ODR AL W-85: Архитектурный интеллект вашего бизнеса
Остекление современного бизнес-центра — это баланс между эстетикой фасада и эксплуатационными расходами. Система ODR AL W-85 создана для тех, кто инвестирует в качество на десятилетия.
- Больше света — выше продуктивность: Благодаря рекордно малой высоте профиля (всего 75 мм), в помещение проникает максимум дневного света, создавая здоровую рабочую атмосферу.
- Бескомпромиссная жесткость: Несмотря на внешнюю легкость, конструкция сохраняет идеальную геометрию даже при больших размерах остекления.
- Универсальный экстерьер: Лаконичные линии профиля подчеркивают строгость современной архитектуры, не перегружая её лишними деталями.
